楼宇自动化节能方案优质供应商
发表时间: 2024-04-19 13:22:33
作者: 广州瑞晶贤力信息科技有限公司
浏览:
实验室VAV系统 无线门磁 DCW

DCW 是 Regin Go Wireless 概念中的一款高质量数字输入/门接触传感器。
该设备可以用于任何类型的应用,但设计上主要用于门接触。它可轻松安装在门框或窗框上,并能检测到开启状态。
√长电池寿命
√安装简便
√通信范围广
√内置防拆保护
√数字输入端口
功能:该单元传输数字输入状态或在门/窗打开时的状态。它设计用于与具有Modbus通信的Regin无线接收器配合使用。当用作门接触器时,每当磁性传感器检测到变化时,该单元会向接收器发送信号。该单元有一个数字输入端子,以实现更大的灵活性。扩展端子与连接到它的设备形成一个闭合回路。当回路断开时,该单元被激活。扩展端子和内部磁性开关可以同时运行,但也可以通过跳线开关禁用内部磁性开关。该单元有一个防拆开关,当其被激活时(即从门框上取下或外壳打开时),会向接收器发送信号。当电池需要更换时,也会向接收器发送信号。
外观:该设备采用隐蔽的外壳设计,并具有防篡改功能。前面板有一个清晰可见的LED灯,当电池电量低、防篡改开关被激活或设备处于测试模式时,LED灯会亮起。
安装:该设备可以使用两个螺丝轻松地安装在门框或窗框上,可以水平或垂直安装。
磁铁使用双面胶带固定在门上,设备侧面的标记必须面向磁铁。
该设备使用一枚CR2 3V锂电池。
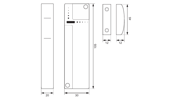
尺寸:
以毫米为单位的测量值。